emilspec
An Integrated Publishing, Inc. Site
eMilSpec
An Integrated Publishing Website
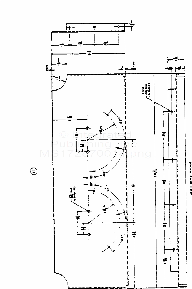
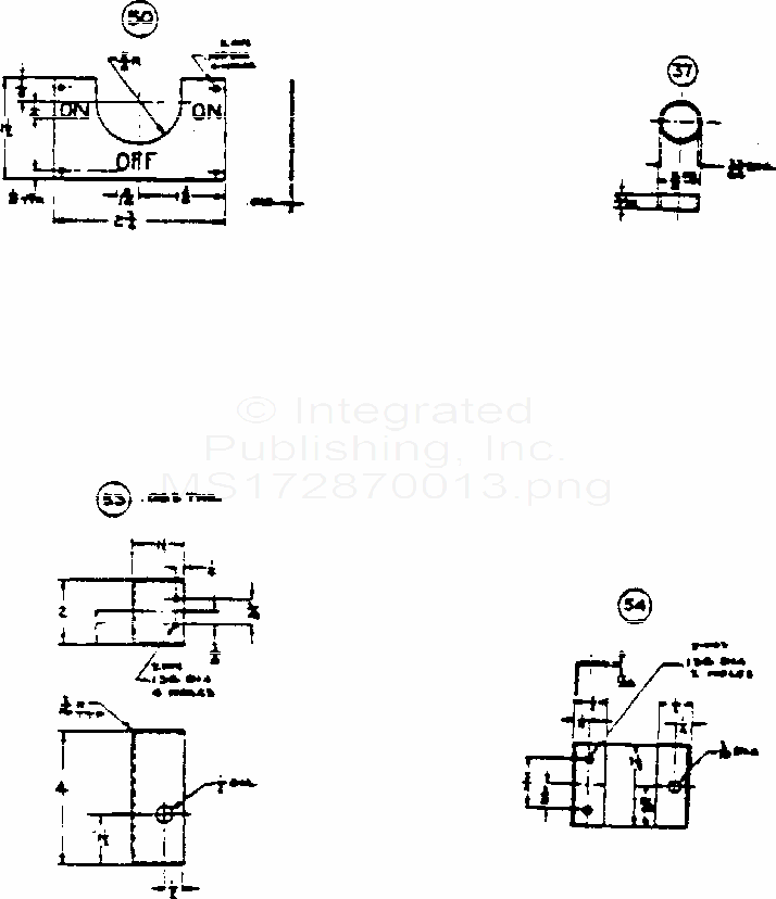
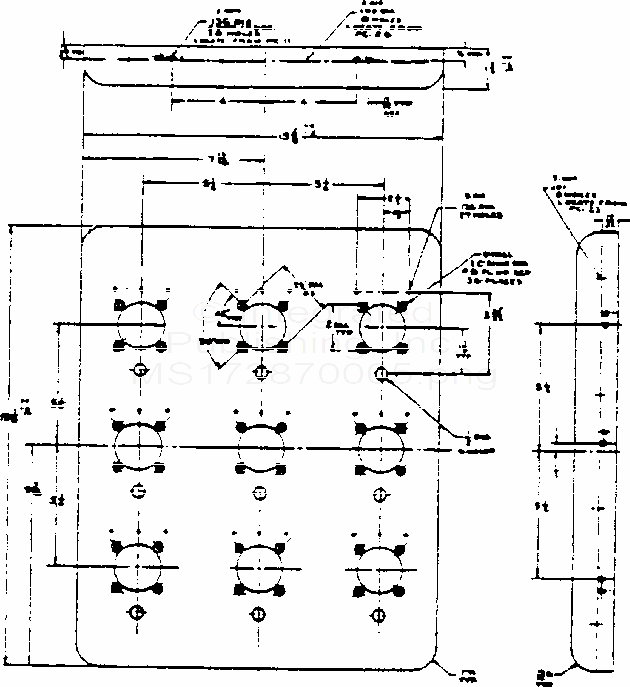
Light, Station Marking Box, Sp Sym. No. 285 For Night Replenishment Operations
For Parts Inquires call
Parts Hangar, Inc
(727) 493-0744
© Copyright 2015 Integrated Publishing, Inc.
A Service Disabled Veteran Owned Small Business