
MIL-DTL-52543E
NOTES:
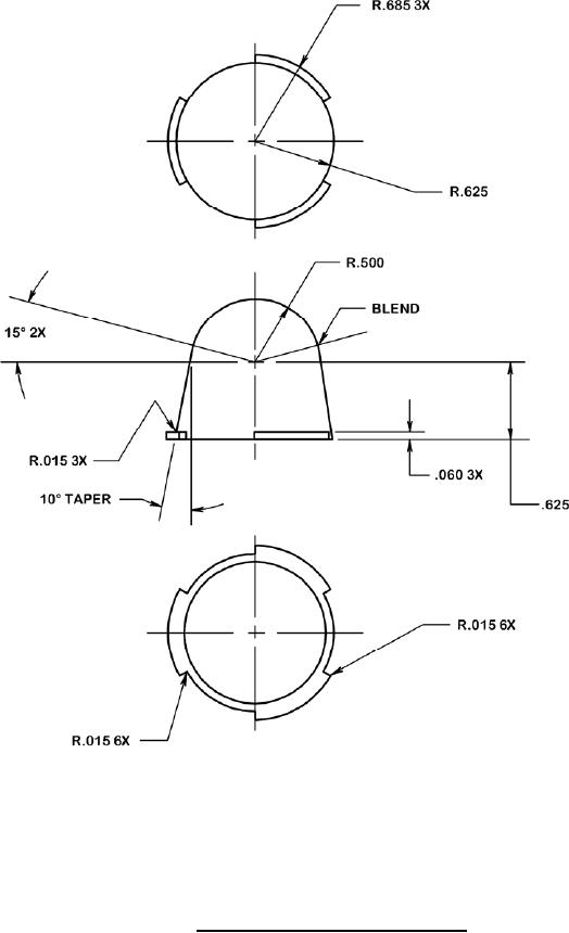
1. All dimensions are in inches.
2. Nominal wall thickness is .060.
3. Unless otherwise specified, tolerances are ±.005, and angles are nominal.
4. Green, blue, amber, and red filter domes.
FIGURE 3. Filter domes, molded, small, color.
17
For Parts Inquires call Parts Hangar, Inc (727) 493-0744
© Copyright 2015 Integrated Publishing, Inc.
A Service Disabled Veteran Owned Small Business