
MIL-DTL-16377/17B(SH)
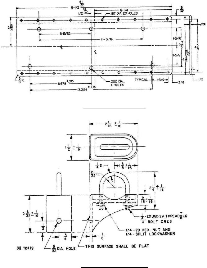
FIGURE 6. Mounting plate for symbol 231.1.
FIGURE 7. Mounting bracket for symbol 229.1.
5
For Parts Inquires call Parts Hangar, Inc (727) 493-0744
© Copyright 2015 Integrated Publishing, Inc.
A Service Disabled Veteran Owned Small Business