
MIL-DTL-16377/17B(SH)
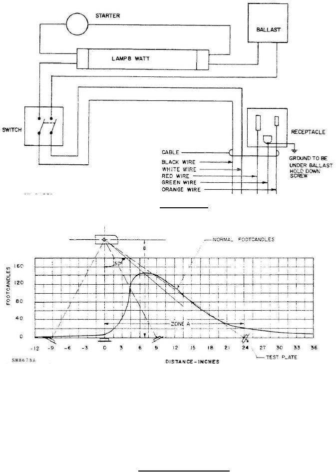
FIGURE 8. Wiring diagram.
Footcandle values within Zone "A" shall be not less than 90 percent of the value shown hereon. These results shall
be met after correction to 380 lumens output for both lamp and ballast has been made.
Voltage:
115 volts, 60 hertz.
Ambient temperature:
76 °F (24.4 °C).
Lamps:
Lamp furnished with light shall be used during test.
Ballast:
Ballast furnished with light shall be used during test.
Lamp correction:
Distribution curves based on 380 lumens per lamp.
FIGURE 9. Footcandle distribution curves.
6
For Parts Inquires call Parts Hangar, Inc (727) 493-0744
© Copyright 2015 Integrated Publishing, Inc.
A Service Disabled Veteran Owned Small Business